切刃について
当社ではより美しい麺線と美味しい麺が出来る切り刃を提供する為、最新の設備と各工程ごとに厳しい管理体制の基に切刃製作しております。 より長く鋭い切れ味を保つために、切刃の種類とその特性を理解し、保守点検を行う上での参考にして頂きたいと思っています。
切刃
切刃は製麺製造工程であり、ここで切られた麺線の形状、切断面の良否で製品の見栄え、茹でる時の煮崩れ、湯の濁り、ウェーブ(縮れ) 等に大きな影響を与えます。又食べる時の食感、つゆのからみ具合等が変わり美味しさを決める大きな要素となります。
切刃の種類
切刃の種類は大きく分けて4種類あります。角刃、丸刃、薄刃、及び面取り刃です。 切刃の形状と切り出される形状は、次のようになります。 麺線の形状によってお選び下さい。
切刃番手(番号)
切刃につけられている番号は昔、麺を作る職人が一寸(30.03mm)の中に何本の麺線を切るかその由来とされています、今はJIS(日本工業規格)規定されています。 20番の切刃で切った麺線の巾は30.03mm÷20=1.515mmとなりますが現在では、1.5㎜と決めております。 但し出てくる麺線を分割して次の工程(茹籠入れる等)移す場合、分割した本数がそれぞれ同数にして重量管理する場合はその寸法に合わせます。 一般的に太麺といわれるのは切刃番手が18番以下で、細麺は24番や26番です。中華麺を製麺所に注文するときにも、この切刃番手を指定して、必要な太さの麺を準備します。
切刃の番手(番号)と用途
切刃番手を製造しております。麺にあったこだわりの切刃番手を、製作しております。
| 切刃の番手(番号) | 溝 巾(mm) | 用 途 |
|---|---|---|
| 4番 | 7.5 | 平麺、きしめん用 |
| 5番 | 6.0 | 平麺、きしめん用 |
| 6番 | 5.0 | 平麺、きしめん用 |
| 8番 | 3.75 | うどん用 |
| 10番 | 3.0 | うどん用 |
| 12番 | 2.5 | うどん用 |
| 14番 | 2.2 | うどん用 |
| 16番 | 1.875 | うどん用 |
| 18番 | 1.7 | 冷麦、蕎麦、ラーメン用 |
| 20番 | 1.5 | 冷麦、蕎麦、ラーメン用 |
| 22番 | 1.4 | 冷麦、蕎麦、ラーメン用 |
| 24番 | 1.25 | 冷麦、蕎麦、ラーメン用 |
| 26番 | 1.15 | そうめん用 |
| 28番 | 1.1 | そうめん用 |
| 30番 | 1.0 | そうめん用 |
切刃の材料
切刃の材料は切ろうとする麺帯の性質や、切刃がおかれている環境等によって替わります。特殊な鋼材、各種のステンレスを用意し、その用途に最も適した 材料で製作させて頂きます。
切刃操作説明
1.切刃は、調整点検し出荷しておりますのでそのままご使用できます。 切刃をセットする前に必ず異物やホコリ、油等がついていないかを確かめて下さい。 付いているときは、エアーブラシ等で丁寧に取り除いて下さい。 掃除のときの切刃ロールを回す場合は絶対に逆回転させないで下さい。 逆回転させると、ロールとカスリとの間に異物が噛み込みますので注意して下さい。
2.切刃をセットし、固定金具でしっかり固定し寸動で回転を確かめ再度、切刃がしっかり固定されているかを確かめて下さい。 麺帯が入ってないときの運転は、切刃の負担が大きく痛みやすいので、カラ回しは出来るだけ短く行うようにして下さい。
3.切出し機を起動させて麺帯を切刃に送り込みます。切刃ロールの周速は切出し機の周速より若干早く設定しておきます。 麺帯はやや引っ張り加減で走るように運転します。切刃の溝に両端が綺麗に入るようにする調整としては、切刃の駆動が単独で回している 場合はインバーター等の速度調整のボリューム等で行います。また、切り出し機の駆動から取る場合は、切刃駆動ギアーの歯数を変える事によって行います。 切刃の回転を早くすると切刃を通過する麺帯の巾が狭くなります。目安として切り出しロールの巾に対して、4mm~5mm狭くなるように調整して下さい。
切刃交換取り付け方法
お気軽にお問い合わせ下さい。
切刃の調整
切刃は調整検査された物を出荷しておりますが、搬送、取扱いに不注意で、または長期の使用などで切刃のバランスを崩し、切れなくなることがあり、 調整をし直す必要があります。 切刃を切り出し機にセットし固定して下さい。調整ボルトのロックナットを緩め、麺帯を入れ運転しきれない方の、調整ボルトを少しずつ(時計の長針で3分~5分位)回しながら切れる位置を見つけます。その位置から更に左右の調整ボルトを同等にほんの少し、締め込むように調整して下さい。 中央部が切れない時は、左右の調整ボルトを半回転くらい戻し、改めて上記の方法で調整をして下さい。 丸刃及び面取り刃の切刃は調整ボルトを押しすぎると、切刃ロールの刃先を壊しますので十分注意をして調整して下さい。 調整しても切れない場合には、当社に連絡して下さい。
カスリの調整
カスリの種類は大きく角刃型と丸刃型とがあります。
| カスリの種類 | |
|---|---|
| ①角刃型カスリ | ②丸刃型カスリ |
カスリを下図のように切刃にセットして下さい。取り付けボルトを軽く締め、カスリに先端が、切刃の溝の谷底に 当たるようにカスリの背中を軽く叩き、なじませながら取り付けボルトを中央から左右にと少しずつ締めていきます。 カスリには角刃型と丸刃型がありますが、角刃型はカスリの刃の先端と谷の面が、丸刃型のカスリは長い刃と短い刃とが、 切刃の溝に密着するように取り付けボルトを締めて下さい。 密着しているかの検査は、締め付けボルトを締めながらカスリの背中を軽く叩き、澄んだ音が出るようになれば完了です。 カスリは長期使用しますと、摩耗して短くなりますので時々点検して下さい。 カスリ先端の傾斜部が無くなるところまで使用したら交換をして下さい。 特に丸刃のカスリは、刃先先端とカスリが接触しないようにスリットで逃してあります。カスリの先端が摩耗して短くなり、 スリットの谷底が切刃の先端を擦る様になりますと、刃は鋭利さを失い切れなくなります。 カスリは消耗品です。品質の良い麺を作るためにも、早めの交換をお願致します。
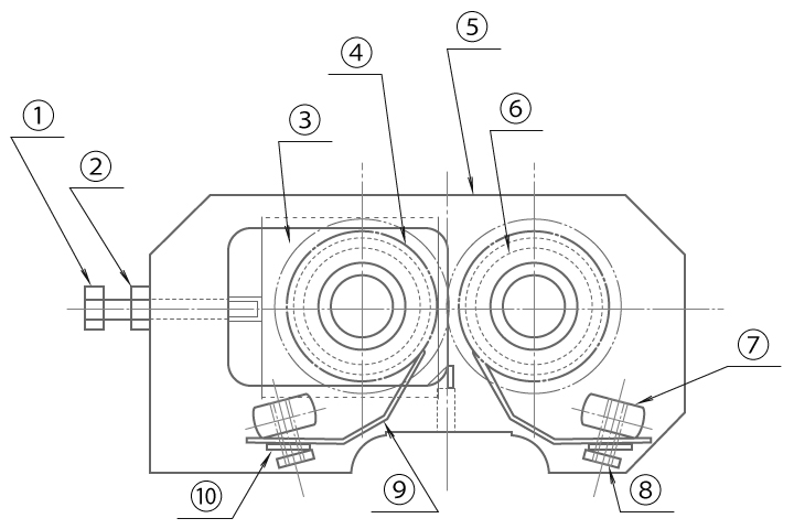
| カスリと切刃 | |
|---|---|
| ①調整ボルト | ②ロックナット |
| ③軸受け | ④切刃ロール |
| ⑤切刃フレーム | ⑥軸受けメタル |
| ⑦取付ステー | ⑧取付ボルト |
| ⑨カスリ | ⑩カスリ押え板 |
保守・点検
使用後は必ず掃除をして下さい。麺屑は乾燥すると大変硬くなりカスリを破損させたり、切刃を悪くする原因となります。 また、切刃を乾燥させない状態でおきますと、麺屑の腐敗や切刃の腐食の原因となり、大変不衛生です。 エアーブラシ等で麺屑を完全に取り除いて下さい。特に丸刃、薄刃、面取り刃はカスリの先端が切刃の溝の谷に付いていませんので、麺屑、ホコリ等が付きやすくなっています。エアーブラシ等で入念に掃除をして下さい。
軸受けメタルについてはグリス封入シール付き、含油メタル方式、砲金メタル方式と種類があります。
1.グリス封入シール付きは、給油の必要はありません。
2.含油メタル方式は、メタルに油がしみ込んでいる程度に給油する。
3.砲金メタル方式は、切刃ロール軸と砲金メタルの間に油がにじむ程度に給油する。
長期にご使用ならない場合には、切刃からカスリ、分割機、ウエーブ装置等の付属部品をそれぞれ外し、それぞれ各付属部品を綺麗に掃除をして保存して下さい。 切刃は切刃ロールの噛み合いを外して、食品用の機械油を塗りビニール等で巻き刃の保護をして保管して下さい。 使用する油について、動植物油は使用しないで下さい。酸化したり劣化したりして切刃に悪影響を与えます。






